1. 线控技术是用拉线取代机械连杆机构实现对汽车的控制。()
A. 正确 B. 错误
2. 铅酸蓄电池具有内阻小,电压稳定的特点,能迅速提供大电流,是较为理想的启动型蓄电池。()
A. 正确 B. 错误
3. ROM又称读写存储器,它的数据读取、存入时间都很短,计算机运行时,既可以从其中读数据,又可以将数据写入ROM。()
A. 正确 B. 错误
4. 在电子控制器的硬件电路中,驱动器缓冲器)用于增强总线的负载能力。()
A. 正确 B. 错误
5. OSI模型各层协议细节的研究是各自独立进行的,每一层的功能也是独立的。()
A. 正确 B. 错误
1. 以下属于动力传动总成控制系统的是()。
A. 上网设备 B. 电子燃油喷射系统 C. 防滑控制系统 D. 安全气囊
2. 以下对发电机叙述不正确的是()。
A. 在发动机转速变化范围内均能够正常发电并保持电压稳定
B. 要求体积小、重量轻
C. 汽车上使用的多为三相交流发电机
D. 在汽车运行所有工况下均能正常发电
3. RS-232C是()。
A. 异步串行通信协议 B. 同步串行通信协议 C. 异步并行通信协议 D. 同步并行通信协议
4. 传感器的输出信号形式由()决定。
A. 传感器的种类 B. 传感器的应用场合 C. 传感器的结构 D. 传感器的原理
5. 下图所示控制属于()。

A. 开环控制 B. 闭环控制 C. 反馈控制 D. 前馈控制
1. 以下系统可提高汽车行驶安全性的有()。
A. 安全气囊 B. ABS C. 音响 D. 电控燃油喷射系统
2. 对发电机电压调节器叙述正确的有()。
A. 当发动机转速发生变化时,自动对发电机的电压进行调节,使发电机的电压稳定。
B. 对电压的调节作用需要人工干预。
C. 调节器动作的控制参量为发电机电压。
D. 可以使输出电压在设定的范围内波动,得到一个稳定的平均电压。
3. 以下关于SCI数据格式的说法正确的有()。
A. 发送、接收数据串的第一位是起始位
B. 数据的LSB被首先发送、接收
C. 数据串的最后一位是停止位
D. 发送/接收数据空闲时TxD、RxD线为低电平
4. 随机存取存储器RAM可用于存放()。
A. 原始数据 B. 中间结果 C. 最后的运算结果 D. 表格
5. 关于车用温度传感器说法正确的有()。
A. 不应影响测点处的温度分布并能再现温度的瞬态变化
B. 热容量惯性尽量大
C. 保持敏感元件测得的温度不受外界的温度影响
D. 要求敏感元件与外界绝热良好
6. 关于位置式PID和增量式PID控制说法正确的有()。
A. 当采样序号很大时,位置式PID算法要占用很多内存,计算机运算量大。
B. 增量式PID算法的计算误差和计算精度问题对控制的计算影响较小。
C. 位置式PID算法不需要做累加,控制器增量的确定仅与最近几次误差采样值有关。
D. 增量式PID算法得出的是控制量的增量,误动作影响小。
7. 关于车用总线说法正确的有()。
A. 其特点之一是范围小、节点数少。 B. 是基于点到点的通信方式 C. 是基于串行信息传输的通信方式 D. 线路简单,实时性好
1. 汽车电子技术是以为本,新增微控制器及控制软件。
2. 起动机是将蓄电池的转换为机械运动,使发动机起动工作。
3. 汽车信号系统主要通过和两种方式向其他车辆的司机和行人发出警告,以引起注意,确保车辆行驶的安全。
4. 汽车行进时,要求照明设备能提供明亮均匀的道路照明,并不对迎面来车司机造成。为了达到后者所述目的,通常要求前照灯采用具有和的双灯丝灯泡。
5. 评价半导体存储器的主要指标有两个是和。
6. 数字输入调理器(或数字输入缓冲器)主要完成对和的处理。
7. 列举三种逻辑门电路的类型:、、,逻辑门电路有两种输出状态,即、。
8. 为了提高通信的抗干扰性和数据传输的可靠性,RS-232C采用负逻辑,即逻辑取-3V~-15V,逻辑取+3V~15V。
9. 总线按信号不同,可以分为控制总线、数据总线和地址总线,其中的条数决定了CPU的寻址能力,的条数决定一次可最多传送数据的宽度。
10. 如果CPU总线时钟为8MHz,则CPU作一次总线读或写操作的时间是。
11. 系统操作正常监视模块的功能是在微控制器工作不正常时,产生信号。
12. 闭环控制是将和进行比较,并根据比较的结果对进行修正。
13. PID控制时间将比例(P)、积分(I)和微分(D)通过组合构成控制量,对被控对象进行控制。
14. I2C总线是用于间串行通信的总线,其以根连线实现双工同步数据传送,实现两个器件之间地址和数据信息的双向传送。
1. 简述蓄电池的主要功用。
2. 针对MC68HC08系列单片机,简要说明输入捕捉和输出比较的含义?
3. 结合下图,说明氧化锆型O2传感器的工作原理。

4. 试叙述SAE J1939协议数据链路层中,对帧格式、协议数据单元的规定内容分别是什么。
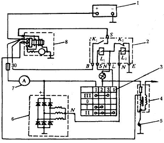
1. 下图所示为某汽车的起动机控制电路,分析其工作原理。

1-蓄电池 2-起动复合继电器 3-点火开关 4-点火线圈 5-断电器触点 6-发电机 7-电流表 8-起动机
2. 总线频率为4MHz,分频因子为64,求16位的计数器每隔多少时间计数一次。如果定时器自由运行溢出,则每隔多少时间出现一次定时器溢出。
3. 下图所示为一个开关量检测电路。试说明其工作原理(按开关量的两种电平状态进行说明)。
